歡迎訪問北京中天恒遠環保設備有限公司官網!
咨詢熱線:010-8022-5898 手機:18610094262
-
含氟廢水回用處理方法 2018-01-20 [行業資訊] 熱度:229

反滲透是近幾十年興起的水處理技術,已經廣泛應用于工業給水、中水回用、廢水處理及居民生活飲用水方面,具有環保、脫鹽率高等優勢〔1〕。 近年來我國光伏行業發展迅速,光伏廢水處理日益受到關注〔2〕。含氟廢水是...
-
印染廢水回用處理工藝 2018-01-20 [行業資訊] 熱度:185

1 引言 紡織印染行業廢水具有排放量大、水質變化大、有機物濃度高、色度高等特點,其處理相對復雜.近年來,由于水資源的緊缺,眾多環保學者在印染廢水回用領域進行了大量研究. 為了保證印染廢水出水的穩定達標和中水...
-
環保型廢水回收設備 2018-01-20 [行業資訊] 熱度:165

本實用新型提供一種環保型廢水回收設備,包括廢水收集箱,廢水收集箱上設置有廢水入口,廢水收集箱內設置有第一過濾層,廢水收集箱下端設置有廢水出口,廢水出口依次連接有第一抽水泵、管式膜組件、透過液箱、第二抽...
-
含氰廢水回收方法和設備 2018-01-20 [行業資訊] 熱度:171

本發明公開了一種含氰廢水的回收方法和設備,含氰廢水回收方法包括如下步驟,1)酸化:將含氰母液中滴加酸液,母液中氰化物轉化為氰化氫氣體;2)吸收:將上述氰化氫氣體用堿液吸收,得混合溶液;3)回收:檢測混合溶液中...
-
含鎳廢水回收設備以及方法 2018-01-20 [行業資訊] 熱度:289

本發明公開一種含鎳廢水鎳回收設備以及回收方法,其設備結構包括含鎳廢液收集罐、電解槽、電解余液儲罐、過濾器和至少一個樹脂罐;該含鎳廢液收集罐用于收集車間的含鎳廢水,電解槽由一污水泵通過管道將含鎳廢液收集...
-
高排量污水過濾機 2018-01-20 [行業資訊] 熱度:274

本發明涉及污水過濾領域,具體的說是一種高排量污水過濾機,包括主動轉軸、兩個從動轉軸、兩塊安裝板、柔性過濾網、控制器、清潔轉軸、排污溝、排污絞龍、排污管和儲污池,主動轉軸和從動轉軸安裝在安裝板上,柔性過...
-
充分利用污水的節水系統 2018-01-20 [行業資訊] 熱度:266

本實用新型公開了一種充分利用污水的節水系統,其技術方案要點是包括蓄水箱和馬桶,每層樓層均設有蓄水箱和馬桶,并且馬桶低于同一樓層的蓄水箱,蓄水箱頂部固定連接有污水管,污水管另一端連接有用于收集污水的污水...
-
快速高效污泥烘干裝置 2018-01-20 [行業資訊] 熱度:192

本實用新型公開了一種快速高效污泥烘干裝置,包括烘干箱、好氧室、沖洗管、中空粉碎軸和粉碎齒,所述烘干箱上方設有好氧室,所述好氧室一端設有排氣管,所述好氧室下方設有沖洗管,所述烘干箱下方設有分離液管,所述...
-
寶雞市扶風縣百合污水處理廠 2018-01-20 [行業資訊] 熱度:337

寶雞市扶風縣百合污水處理廠于2017年建設,陜西寶雞市扶風縣百合污水處理廠采用較為先進的污水處理工藝卡魯塞爾氧化溝, 其設計規模為2萬立方米/日, 先期日處理規模達到2萬立方米/日,項目投資近1280萬元,工程概況...
-
登封市旅游新城污水處理廠介紹(圖文) 2018-01-20 [行業資訊] 熱度:405

登封市旅游新城污水處理廠于2017年建設,河南登封市旅游新城污水處理廠采用較為先進的污水處理工藝, 其設計規模為5萬立方米/日, 先期日處理規模達到5萬立方米/日,項目投資近8000萬元,登封市旅游新城污水處理廠及...
-
醫療機構污水處理設備介紹(圖文) 2018-01-20 [行業資訊] 熱度:248

本實用新型涉及一種污水處理設備,尤其涉及一種醫療機構污水處理設備。本實用新型要解決的技術問題是提供一種雙向處理的醫療機構污水處理設備。為了解決上述技術問題,本實用新型提供了這樣一種醫療機構污水處理設備...
-
醫院污水處理具體流程和工藝解析(圖文) 2018-01-20 [行業資訊] 熱度:554

醫院污水處理工藝主要是根據醫院的性質,醫院的大小規模,和當地實際情況的處理要求,進行選則的,主要有以下總結。 一、我國醫院污水處理現狀 近年來,隨著醫院污水排放標準的提高,全國部分城市致力于優選較好的污...
-
膜生物反應器分類介紹(圖文) 2018-01-20 [行業資訊] 熱度:245

目前開發出來的膜生物反應器可以分為三類: 膜分離生物反應器(Membrane separation bioreactor);膜分離生物反應器用于污水處理中的固液分離。 膜曝氣生物反應器(Membrane aeration bioreactor)膜曝氣生物反應器中膜...
-
二甲基亞砜廢水處理方法介紹(圖文) 2018-01-20 [行業資訊] 熱度:524

某企業排放的生產廢水中主要特征污染物為二甲基亞砜(DMSO),廢水的可生化性較差(BOD5/COD=0.02),用常規生物法難以直接處理。DMSO廢水的處理方法主要有化學氧化法和生化法。化學氧化法處理成本較高。生化法中,高效...
-
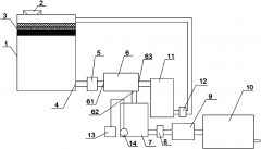
火電廠廢水低溫余熱濃縮系統介紹(圖文) 2018-01-20 [行業資訊] 熱度:414

申請日2016.10.21 公開(公告)日2017.05.03 IPC分類號C02F1/16 摘要 本實用新型屬于火電廠廢水處理技術領域,具體涉及一種火電廠廢水低溫余熱濃縮系統。系統包括除塵器、脫硫吸收塔、廢水收集箱、預處理裝置、廢水預...
- 首頁
- 上一頁
- 432
- 433
- 434
- 435
- 436
- 437
- 438
- 439
- 440
- 441
- 442
- 下一頁
- 末頁
- 共 496頁7429條
服務地區:北京;天津;上海;重慶;河北;河南;云南;遼寧;黑龍江;湖南;安徽;山東;江蘇;浙江;江西;湖北;廣西;甘肅;山西;陜西;吉林;福建;貴州;廣東;青海;四川;寧夏;海南
服務地區:哈爾濱;長春;沈陽;南京;濟南;合肥;石家莊;鄭州;武漢;長沙;南昌;西安;太原;成都;西寧;海口;廣州;貴陽;杭州;福州;臺北;蘭州;昆明;銀川;烏魯木齊;拉薩;南寧
補充分類:電廠;工業;游泳池;系統;工程;工程師;藥劑;過濾器;絮凝劑;公司;廠家;生產廠家;