歡迎訪問北京中天恒遠環保設備有限公司官網!
咨詢熱線:010-8022-5898 手機:18610094262
-
目前流行的醫療污水處理工藝 2018-01-24 [行業資訊] 熱度:232

醫院醫療污水處理背景 目前我國已建設有相當數量的醫院污水處理設施,對醫院污水的污染控制起到了積極的作用。但與發達國家醫院污水處理狀況及世界衛生組織的要求相比,我國醫院污水處理水平整體較低,尤其2003年初...
-
合成氨工業廢水如何處理 2018-01-24 [行業資訊] 熱度:296

2013 年合成氨需求量約為5 800 萬t,以噸氨排水量30 m3計算,執行GB13458-2013 標準,氨氮以40 mg /L 計,則合成氨工業廢水排放量為17.4 億m3,氨氮排放量約為7 萬t,而2011 年環境統計年報公布工業廢水氨氮的排放量...
-
超濾技術應用于生活污水處理回用系統 2018-01-24 [行業資訊] 熱度:311

0 前言 隨著社會經濟的發展和人們生活水平的提高,人們對環境質量的要求也逐漸提高,當前多數傳統的污水處理技術只注重廢水的達標排放,忽略污水的回收利用。而近年來經濟發展過程中出現的水資源短缺問題,客觀上要...
-
油田污水處理現狀及發展趨勢 2018-01-24 [行業資訊] 熱度:214

1.概述 油田污水主要包括原油脫出水(又名油田采出水)、鉆井污水及站內其它類型的含油污水。油田污水的處理依據油田生產、環境等因素可以有多種方式。當油田需要注水時,油田污水經處理后回注地層,此時要對水中的懸...
-
用于油田污水處理的方法 2018-01-24 [行業資訊] 熱度:168

本發明提供了一種用于油田污水處理的方法,包括:使用大于1ppm的還原劑作為氧化劑,其中還原劑含有亞鐵離子、二硫化物、有機化合物或包含上述至少一種且含有過氧化氫、高錳酸鉀、氯氣、次氯酸鈉、鈣次氯酸鹽、過碳酸...
-
油田污水處理系統 2018-01-24 [行業資訊] 熱度:192

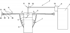
一種油田污水處理系統,包括隔油裝置、浮選裝置、過濾裝置、微生物處理裝置、除氧裝置和凈水存儲裝置,油田污水連通于所述隔油裝置,所述隔油裝置連通于所述浮選裝置,所述浮選裝置連通于所述過濾裝置,所述過濾裝置...
-
新型油田污水處理系統 2018-01-24 [行業資訊] 熱度:248

本實用新型涉及一種新型油田污水處理系統。其目的是為了提供一種結構簡單、組合靈活、工作效率高的污水處理系統。本實用新型包括調節池、離心分離器、UASB反應器和HMBR反應器,調節池的入水口與原水管道連通,調節池...
-
油田污水處理池 2018-01-24 [行業資訊] 熱度:261

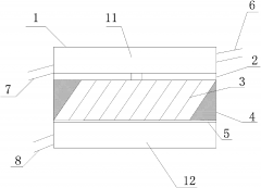
本發明提供了一種油田污水處理池,包括污水池,其特征在于,所述污水池連接污水入池管道,排油管道和排水管道;所述污水池還包括了超聲波換能器陣列架,沉降區域,斜管固定裝置以及隔離網。通過上述方式,本發明能夠...
-
清水縣“十二五”節能減排綜合性工作方案 2018-01-24 [行業資訊] 熱度:271

十二五時期是我縣全面建設小康社會的關鍵時期,工業化、城鎮化進程將進一步加快,能源需求剛性增長,資源環境約束突出,節能減排工作形勢嚴峻。為了切實提高資源利用效率,減少污染物排放,實現綠色發展、低碳發展和...
-
江蘇揚州市城市環境綜合整治行動實施方案 2018-01-24 [行業資訊] 熱度:279

為進一步改善城鄉環境面貌和人居環境質量,省政府決定從2013年起,利用三年左右的時間,在全省開展城市環境綜合整治行動。根據省政府的統一部署,結合我市實際,制定實施方案如下。 一、總體目標要求 (一)指導思想 ...
-
小型水產加工企業廢水處理工藝改造 2018-01-24 [行業資訊] 熱度:230

臺州地處浙江東部沿海,水產加工行業發達,小型水產加工企業眾多。水產食品加工廢水的懸浮物和動物油脂濃度高,氨氮及磷較高,水溫低,生化降解速率慢;污泥呈膠體狀,量大、難脫水,且容易腐爛變質散發出臭味,并造...
-
冷卻循環水處理工藝及其特點 2018-01-24 [行業資訊] 熱度:151

冷凍水是只通過制冷機使其溫度下降后再流向冷卻工藝的循環水,主要用于中央空調和工廠中需低溫冷卻的系統。就冷卻系統的構成而言,冷凍水分為密閉式和非密閉式,非密閉式又分為部分敞開式和噴淋式兩種類型。 冷凍水...
-
飲用水消毒過程研究 2018-01-24 [行業資訊] 熱度:151

氯消毒應用于飲用水消毒處理已有100多年的歷史,是目前飲用水廠最常見的消毒技術. 然而自從20世紀70年代Rook首先發現飲用水氯消毒后有副產物三鹵甲烷(THMs)生成,多種DBPs陸續被檢出,例如鹵乙酸、 鹵乙腈、 鹵代醛...
-
高效的污水取樣裝置 2018-01-24 [行業資訊] 熱度:244

本發明涉及一種污水取樣裝置,包括取樣器以及瞄準裝置;所述取樣器包括上機械室以及下集液室;上機械室沿其內壁四周均勻設置有若干個伸縮驅動室;所述伸縮驅動室遠離上機械室一側設置伸縮桿;所述伸縮桿穿入伸縮驅動室與...
-
難降解有機廢水物化溶劑吸附處理設備介紹 2018-01-23 [行業資訊] 熱度:242

本實用新型公開了一種難降解有機廢水的物化溶劑吸附處理設備,包括反應罐、高壓風機、氧化室和氣浮室,所述氧化室右側連接有第二連接管道,所述排渣口右側固定有排渣管道,所述氣浮室右側連接有第三連接管道,所述第...
- 首頁
- 上一頁
- 429
- 430
- 431
- 432
- 433
- 434
- 435
- 436
- 437
- 438
- 439
- 下一頁
- 末頁
- 共 496頁7429條
服務地區:北京;天津;上海;重慶;河北;河南;云南;遼寧;黑龍江;湖南;安徽;山東;江蘇;浙江;江西;湖北;廣西;甘肅;山西;陜西;吉林;福建;貴州;廣東;青海;四川;寧夏;海南
服務地區:哈爾濱;長春;沈陽;南京;濟南;合肥;石家莊;鄭州;武漢;長沙;南昌;西安;太原;成都;西寧;海口;廣州;貴陽;杭州;福州;臺北;蘭州;昆明;銀川;烏魯木齊;拉薩;南寧
補充分類:電廠;工業;游泳池;系統;工程;工程師;藥劑;過濾器;絮凝劑;公司;廠家;生產廠家;